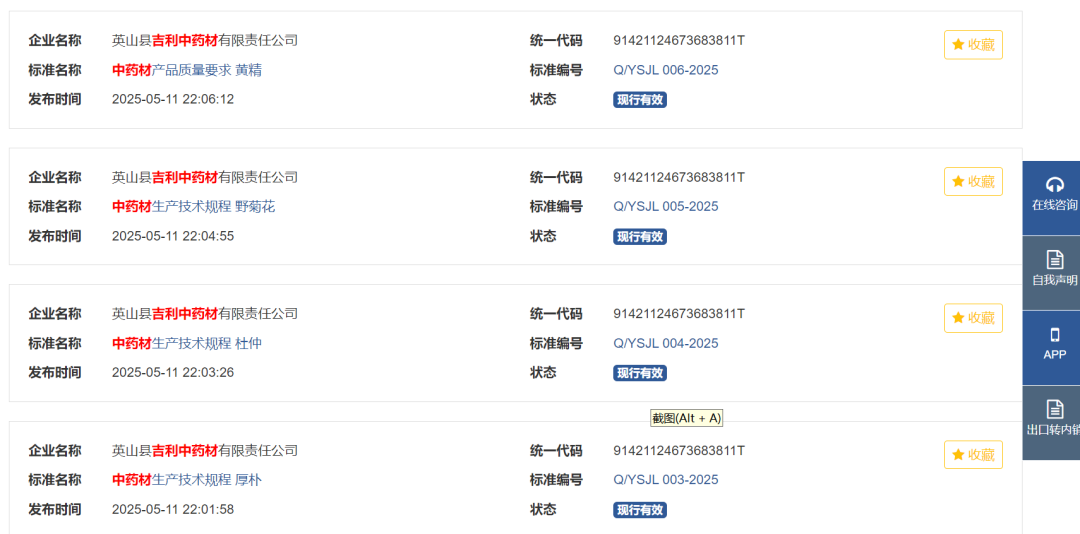
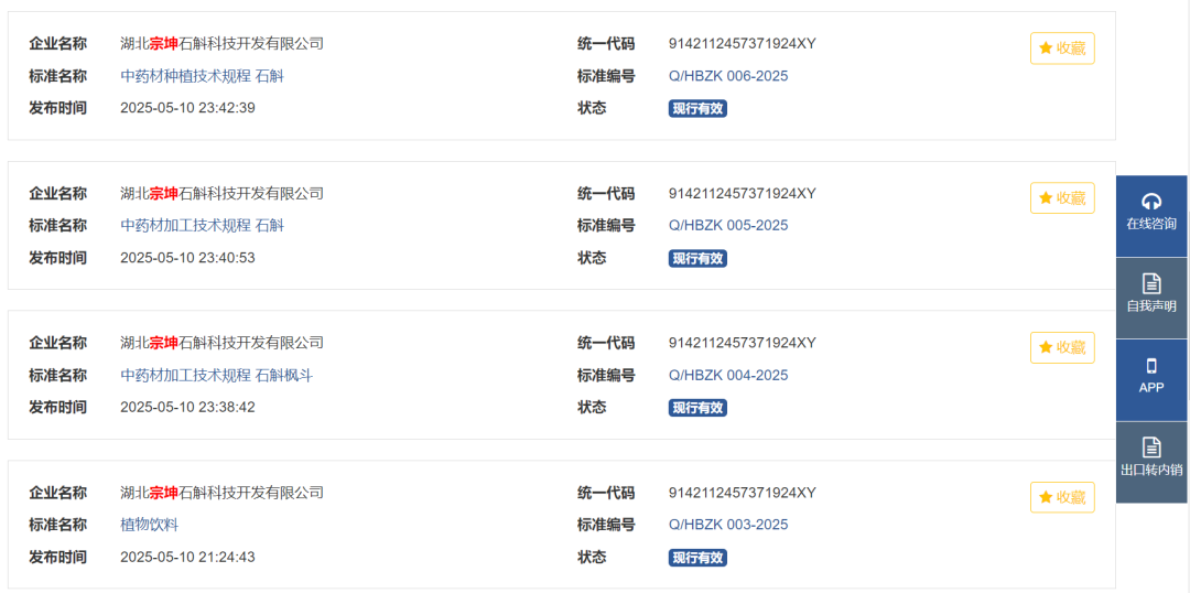
近日,英山县中药材产业迎来新突破——50项企业标准正式通过国家企业标准信息公共服务平台(qybz.org.cn)向全国发布。



本次发布的标准涵盖了“英三味”(茯苓、苍术、天麻)等道地药材的种植规范、加工工艺和质量管控全流程,标志着我县在推进中药材产业标准化、规范化发展上又迈出了关键一步,为建设大别山道地药材产业发展集聚区奠定坚实基础。
2025年是英山“改革深化年”,县特色产业发展促进中心秉持改革创新理念,系统推进中药材产业转型升级。针对产业发展瓶颈,大力实施中药材产业“三化”改革与质量提升工程,此次发布的标准体系,正是推动我县中药材产业标准化种植、规范化生产和品牌化打造的重要举措,将为进一步提升“英三味”品牌核心竞争力注入强劲动能。
通讯员:周楠浩
一审:刘锦芮
二审:黄炎
三审:王进

